歐洲對伊藤汽油發電機的要求
伊藤汽油發電機是世界上用途廣、市場需求量大的配套動力之一。近年來,越來越多的企業開始涉足伊藤汽油發電機制造領域,目前以重慶為代表的中國通機產品生產基地正在形成。現階段我國生產并出口的通機產品主要有:伊藤汽油發電機、汽油發電機組、柴油發電機組等。
TUV品服務有限公司是專業從事產品檢測和認證的第三方認證機構,對機電產品的認證在國內外享有盛名。下面以伊藤汽油發電機為例,介紹一下歐洲對伊藤發電機產品電磁兼容的要求,希望能對國內伊藤發電機產品制造商有所幫助。
所謂電磁兼容,是指伊藤汽油發電機在電磁環境中能正常工作且不對該環境中的任何事物構成不能承受的電磁騷擾的能力。從定義上理解,要從電磁發射(EMI)和電磁抗擾度(EMS)2個方面去分析通機產品的電磁兼容性(EMC)。
1、電磁發射
電磁發射引用的標準為EN55012:2002《車輛、機動船和由火花點火發動機驅動的裝置的無線電騷擾特性的限值和測量方法》,即將伊藤汽油發電機處于正常工作位置和高度,以怠速空載的狀態下測量其最大騷擾輻射值,測量時天線中心到汽油發電機邊緣金屬部份的水平距離為(10.0土0.2)m,天線中心離地面的高度為(3.00土0.05)m。
伊藤汽油發電機的無線電騷擾限值分為寬帶騷擾限值和窄帶騷擾限值。
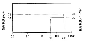
a、寬帶騷擾限值
測量時允許使用準峰值檢波器也可以用峰值檢波器測量。注意使用儀器的帶寬(lkhz、120kHz、1MHz),僅用一種帶寬測量即可,實際中常選準峰值檢波器和120Hz帶寬,在30一1000MHz頻率范圍內的每一頻率測量點上,分別進行水平極化和垂直極化測量。

頻率對數圖
圖一、10.0m法測試限值(寬帶騷擾信號)
b、窄帶騷擾限值
伊藤汽油發電機的窄帶騷擾限值如圖2所示,該限值適用于峰值或準峰值測量。如果伊藤汽油發電機中不含工作頻率大于9khz的電子振蕩器,無需進行窄帶騷擾測量,即認為符合窄帶騷擾限值要求。

頻率對數圖
圈2、10.0m限值《窄帶騷擾伯信號)
圖3為伊藤汽油發電機電磁發射測試配置圖。
2、電磁抗擾度
電磁抗擾度引用的標準為EN61000/6/1:2001《居住、商業和輕工業環境伊藤抗擾性標準》,同樣將伊藤汽油發電機處于正常工作位置和高度,在怠速空載狀態下做抗擾性試驗。伊藤兩個方面要求:

圖3、為伊藤汽油發電機電磁發射測試示意圖。
1、電放電(基本標準IEC1000/4/2)
空氣放電:±8kV;接觸放電::±4kV;應用性能準則:B(在試驗之后,汽油發電機按預定方式連續工作;在試驗期間,允許性能降低,但不允許改變實際工作狀態)。

圖4、伊藤汽油發電機靜電放電測試示意圖
2、頻電磁場輻射抗擾性(基本標準IEc61000/4/3)
測試頻率:80一1000MHz;場強:3V/m;調幅波:80%AM(1khz);應用的性能準則:A(在試驗期間和試驗之后,汽油發電機應按預定方法連續工作)。

圖5、為伊藤汽油發電機射頻電磁場輻射抗擾性測試配置圖。
根據長期的檢測與認證經驗,在伊藤汽油發電機的電磁兼容測試中,電磁抗干擾方面碰到的技術問題較少,但電磁發射方面出現的問題較多。這與產品設計結構有關,與關鍵零部件的選用也密不可分,如伊藤汽油發電機缸體設計、阻尼火花塞和屏蔽帽選用等。
伊藤發電機產品的國際市場潛力很大,國內各制造商通過TUV產品服務有限公司等公司的技術支持,把好質量關,增強產品進入國際市場的實力,相信在不久的將來伊藤發電機產品出口業績定會再創輝煌!
最新產品
同類文章排行
- 汽油發電機優勢出現高溫報警的原因
- 如何選購發電機蘊含大大的能量
- 柴油水泵常見故障為何排氣管有時滴油
- 汽油和柴油發電機組區別日常啟動步驟
- 汽油發電機用途“心臟”如何保養
- 汽油發電機是否省油如何接線安全
- 汽油發電機優勢磨合期如何安全度過
- 小型汽油發電機優點柴油發電機特點
- 汽油發電機選購起動前準備檢查
- 汽油發電機“燙護秘方”冷卻液溫度偏高解決
最新資訊文章
您的瀏覽歷史




