如何正確使用自備發電機組
電源緊缺是近幾年來的一個實際問題。2003年中國大地經歷了電力的“夏荒”、“冬荒”,2004年全國各地“電荒”更加嚴重。由于隔三岔五拉閘限電,造成照明燈不亮,企業不能正常生產,有線電視信號中斷,交通路口紅綠燈失去指揮功能,等等。因此目前各類大小功率的發電機組大量進入農村、商店、醫院、機關和企業。但往往因廠家倉促組裝,質量得不到保證;用戶倉促購置使用,因而出現了不少問題和故障。本文特此介紹自備發電機組的正確安全使用操作知識。
自備發電機組是以內燃機與發電機合裝為一體的電源供應設備。內燃機分汽油、柴油發電機;發電機分單相220V二極、三相380V四極輸出發電機。使用自備發電機組必須注意以下幾點。
1、合理的功率配載
用戶在選購發電機組時,首先要考慮發電機組輸出功率與用電負載總功率的匹配問題。發電機輸出功率不能等于,更不能少于負載的總功率。因為發電機的功率一般是標稱或設計功率,而不是實際功率。由于多種原因實際的負載功率,不可能與發電機標稱功率相同。一般質量較好的發電機,滿負載也只是發電機如何正確使用自備發電機組功率的70%左右,長時間超載的發電機組容易損壞。
2、選擇適當的安放場地
購進發電機組后,要選擇合適的場地進行固定安裝或承放。選擇時應考慮的條件:
a、地基堅實,周圍建筑物能防震、抗震,防止發電機組運行時,機組振動而造成位移;
b、要靠近用電負載連接使用,方便管理;
c、要空氣流通,排氣方便,以防止一氧化碳危害人身安全;
d、遠離火源、熱源及易燃、易爆、有毒和易腐蝕物質;
e、沒有塵垢、水滴、鋸末、金屬碎屑或其它雜物侵入的場地;
f、為避免噪聲影響鄰里正常生活,發電機組宜距離民居有一定的距離。
3、設置開關、儀表控制
設置開關、儀表的控制板或箱,可以觀察發電機組運轉的安全情況:在市電計量表(電表)至用戶原控制開關前的中間必須安裝雙投閘刀開關一把或中間繼電器一只,便于市電與自發電互換互供。②單相發電機,控制板需裝:30~60A二極帶熔斷器閘刀一把,450V電壓表一只,30~60A電流表一只,15~40W指示燈一盞,用不小于6mm兩次方的銅質絕緣導線連接。③三相四極開關板(箱),需裝60A或四極帶熔斷器閘刀或100A以上的四極石板閘刀一把;60A熔斷保險盒3只,450V電壓表3只,100A電流表3只,15~40W指導燈3盞,用不小于10~25mm二次方的銅質或鋁質絕緣導線連接。單相、三相、指示燈后再連接到雙投或中間繼電器,輸送到原用戶網或負載。
4、三次諧波勵磁的改造
對于單機功率小于55kW的老式小型發電機,極大部分采用的是三次諧波勵磁,原發電機自帶的三次諧波繞組勵磁系統,根本無法滿足發電機并網的要求。我采用圖3的方法對機組進行改造,并網運行非常成功。
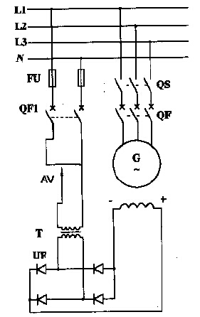
圖1 單相調壓器配變壓器勵磁方式接線圖
從圖1可以看出,發電機的勵磁系統是取網電220V電壓作為勵磁電源的,通過一個膠木閘刀(或空氣開關)控制,后接一個單相調壓器AV和一個小變壓器T,再接入單相整流橋UF,到發電機的勵磁繞組。圖中的小變壓器T是自制的,一般小型發電機的勵磁電壓只有25V左右,在設計小變壓器的變比時,在二次側留有3個抽頭,可以將變壓器設計為220/50、220/35、220/25等三個變比,以方便在調試時選擇合適的變比(變壓器的具體設計可以參考有關的業務書)。有了小變壓器T,再經過調壓器AV的調節,完全能夠滿足發電機并網的要求。
需要特別指出的是,在選擇調壓器時,調壓器的容量寧可選擇比實際負荷大一點,注意要留有一定的余量,以確保調壓器的使用壽命和可靠運行。
我的改造方法是針對的老式水輪發電機的老設備,本著修舊用舊節省投資的前題下提出的,當然與今天的新一代勵磁方式是不能相比的。
(責任編輯:小徐)
相關資訊
- 穩定持久的柴油發電機組
- 應急發電機進村解決村民用水難題
- 伊藤動力的創新
- 汽油發電機廠家直銷重點看“滿意度”
- 富有“挑戰者”精神的柴油發電機組廠家
- 便攜式汽油發電機的應用
- 伊藤動力—3kw汽油發電機
- 梳理小型汽油發電機的特征
- 伊藤動力全自動柴油發電機的優勢
- 軍用汽油發電機組聲特征信號控制研究
最新產品
同類文章排行
- 汽油發電機優勢出現高溫報警的原因
- 如何選購發電機蘊含大大的能量
- 柴油水泵常見故障為何排氣管有時滴油
- 汽油和柴油發電機組區別日常啟動步驟
- 汽油發電機用途“心臟”如何保養
- 汽油發電機是否省油如何接線安全
- 汽油發電機優勢磨合期如何安全度過
- 小型汽油發電機優點柴油發電機特點
- 汽油發電機選購起動前準備檢查
- 汽油發電機“燙護秘方”冷卻液溫度偏高解決
最新資訊文章
您的瀏覽歷史




